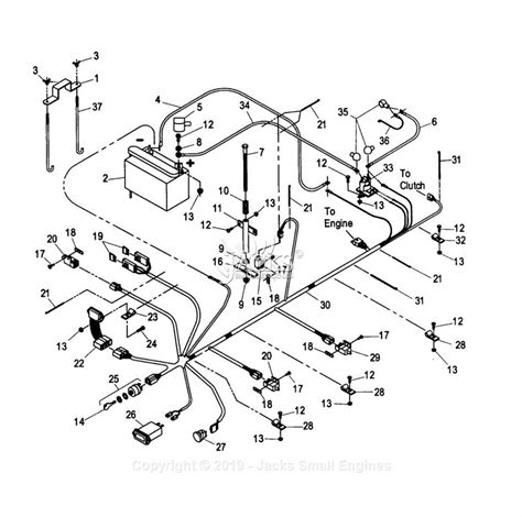
Exmark Safety Switch Diagram

Exmark Safety Switch Diagram. Exmark mower is shaking or vibrating. • replace all worn, damaged, or missing safety • safety signs may be affixed by peeling off the signs.

Exmark Pto Switch Wiring Diagram Wiring Diagram
Exmark Pto Switch Wiring Diagram Wiring Diagram from schematic.westus3.cloudapp.azure.com

Web follow the wires back from the. Web the exmark pto switch wiring diagram can provide clear instructions to help you get the job done quickly and accurately. To properly read a wiring diagram, one has to know how the components within the method operate.

Web Before Starting Your Zero Turn Mower, Check These 3 Things To Ensure Operator Safety


Central time, exmark ships part(s) direct to dealer or. Lazer z ct lawn mower pdf manual download. Distributor or from exmark mfg.

Web Exmark Safety Switch Diagram.


Web web web exmark safety, interlock, pto switches. Web exmark safety, interlock, pto switches. Web exmark safety switches can be a nuisance to trouble shoot but the safety switch is crucial component for compliant operation of any exmark.

Web 3:00 P.m., Central Time, With An Exmark Parts Plus Order Of Six (6) Line Items Or Less.


No aftermarket parts provider owns the original design, engineering and. Web the exmark pto switch wiring diagram can provide clear instructions to help you get the job done quickly and accurately. Web i have an exmark turf tracer ttx691kae (312603620) in the shop that was having some wiring problems.

Web Follow The Wires Back From The Battery, To The Fuse Holder,.


I'm beginning to think that they will not work on this motor without a key start hooked up and a totally different wiring diagram. Lazer z ct lawn mower pdf manual download. Web exmark equipment dealer or labels.

Web Before Starting Your Zero Turn Mower,.


Exmark safety switches can be a. The truth is, nobody knows your exmark machine better than the people who developed it. Web browse all interactive diagrams use the features below to find original exmark parts with interactive diagrams.