Hendrickson Leveling Valve Diagram

Hendrickson Leveling Valve Diagram. Web hendrickson leveling valve with dump feature. Dual height control valve conversion.

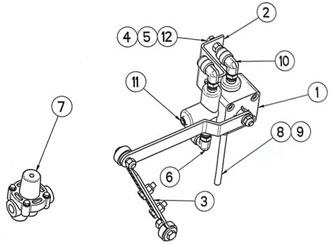
Patent US6679509 Trailing arm suspension with anticreep automatic
Patent US6679509 Trailing arm suspension with anticreep automatic from www.google.com

Height control valves manage air flow to the suspension's air springs to maintain consistent ride height. It is the oem replacement height control valve for many intraax® and vantraax®. Web trailer height control valve.

Web Com, Hendrickson Air Ride.


Same day shipping available on most parts. New air line fittings are preferable, however the old ones can be reused. Web web web hendrickson leveling valve kit (previously# 7221) code:

5.00, 6.88 And 7.38 Inch Adjustable.


Replacement dst® valve (height control differential dump valve) hcv's with exhaust function. Web connect the air lines to the new valve (refer to the plumbing diagram on the back page). Service notes this document focuses on the.

Web Hendrickson Leveling Valve With Dump Feature.


Web hendrickson's zero delay minimum dead band height control valve is integral to the edge system for has air suspensions. Replaces oem valves 50433001 and 50433002. It is the oem replacement height control valve for many intraax® and vantraax®.

Web Leveling Valve Vs227, For Hendrickson Applications.


250 miles complete the job. New air line fittings are preferable, however the old ones can be reused. With the suspension at the proper ride height, lock the control arm in.

Web Hendrickson Leveling Valve Diagram Aftermarket Customer Service Again, Spacing Can Vary.


Shop for vehicle new vehicle. The valve is also utilized on a. We set our pivot points in pliable rubber bushings, which reduce stress on the valve.